Novità interessanti su Nintendo Switch. Oggi pomeriggio sono comparsi su NeoGaf dei brevetti registrati a giugno che rivelano diverse funzionalità delle console.
Tra i dettagli più importanti abbiamo:
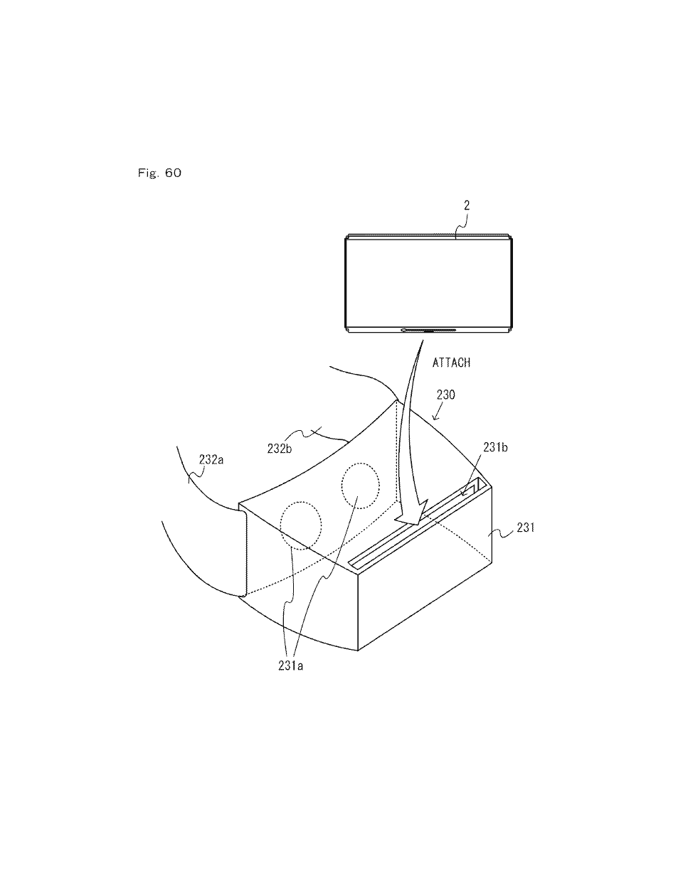
- un dispositivo indossabile sulla testa che permette di montare lo schermo portatile di Nintendo Switch, rendendolo di fatto un visore VR
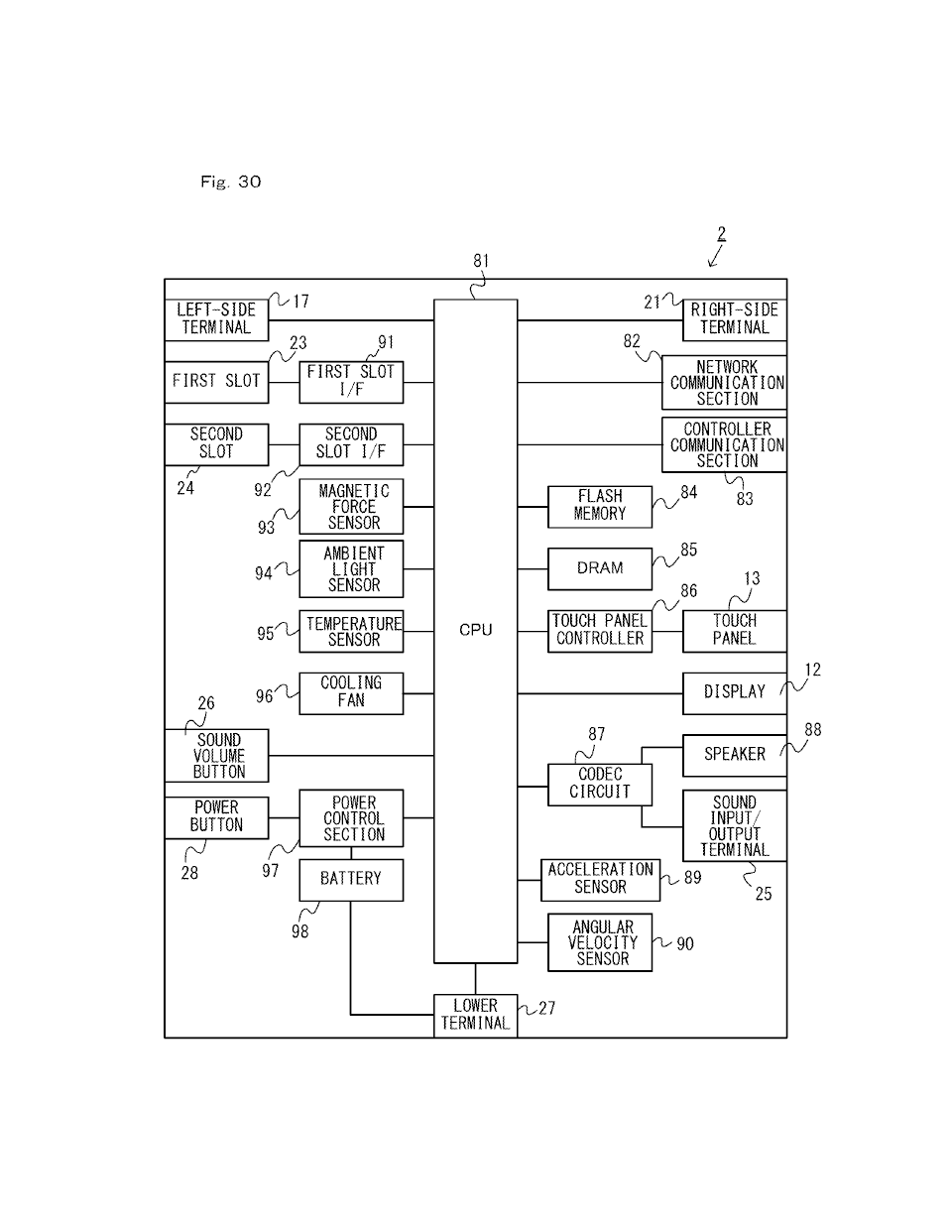
- degli accenni a un touch screen e un pannello touch
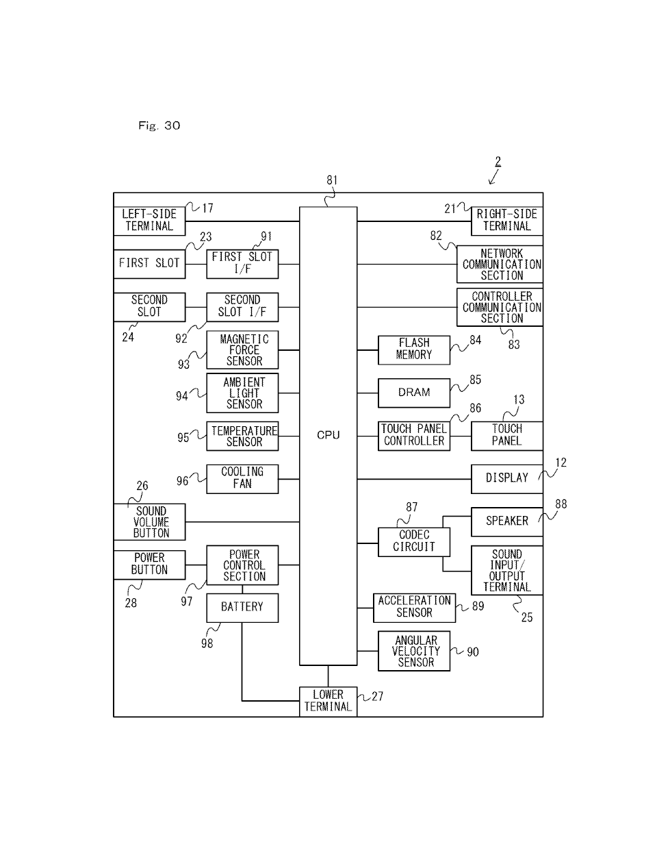
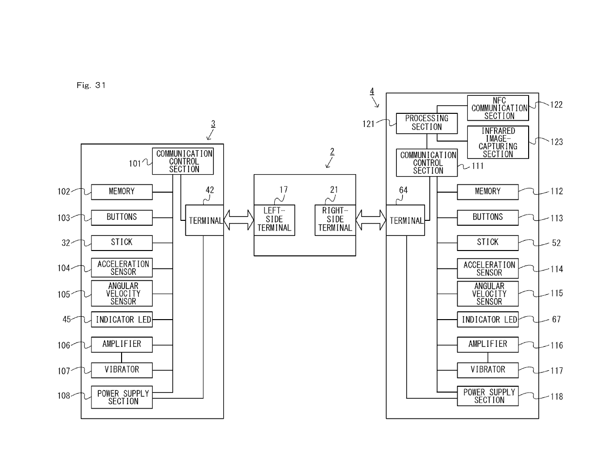
- giroscopi presenti nei Joy-Con
- fino a quattro Joy-Con utilizzabili da quattro giocatori (uno a testa) nelle partite in locale sul televisore
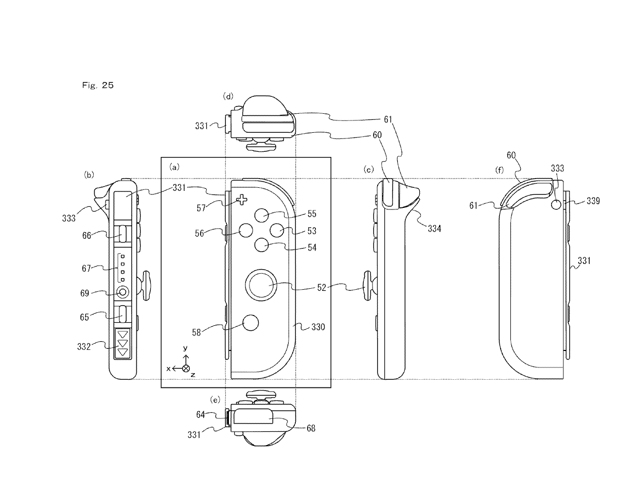
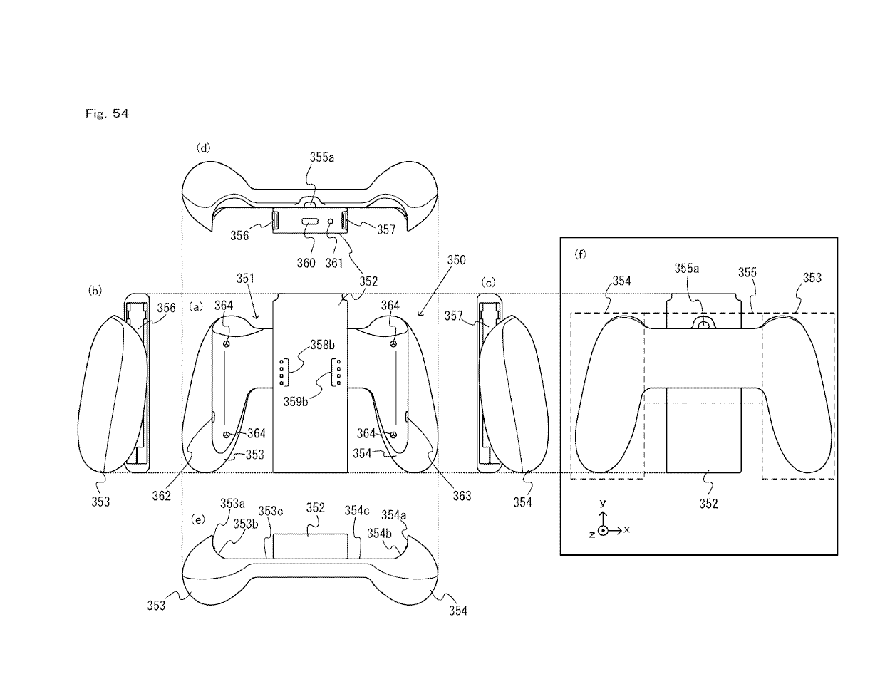
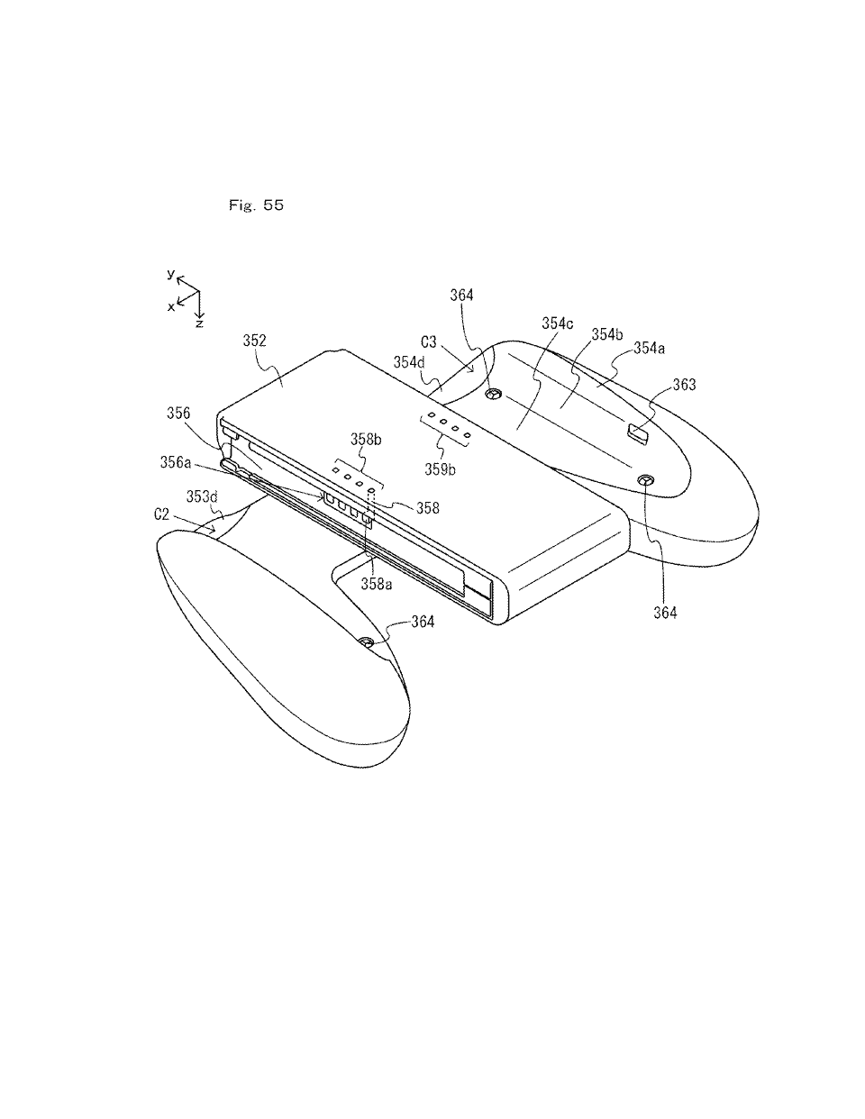
- configurazioni alternative dei Joy-Con che comprendono una croce direzionale sul Joy-Con di sinistra
- la conferma della presenza di due tasti laterali per ciascun Joy-Con
- la presenza di un sensore a raggi infrarossi sul Joy-Con di destra
- funzione rumble presente su entrambi i Joy-Con
- NFC sul Joy-Con di destra, cosa che confermerebbe la compatibilità con gli amiibo
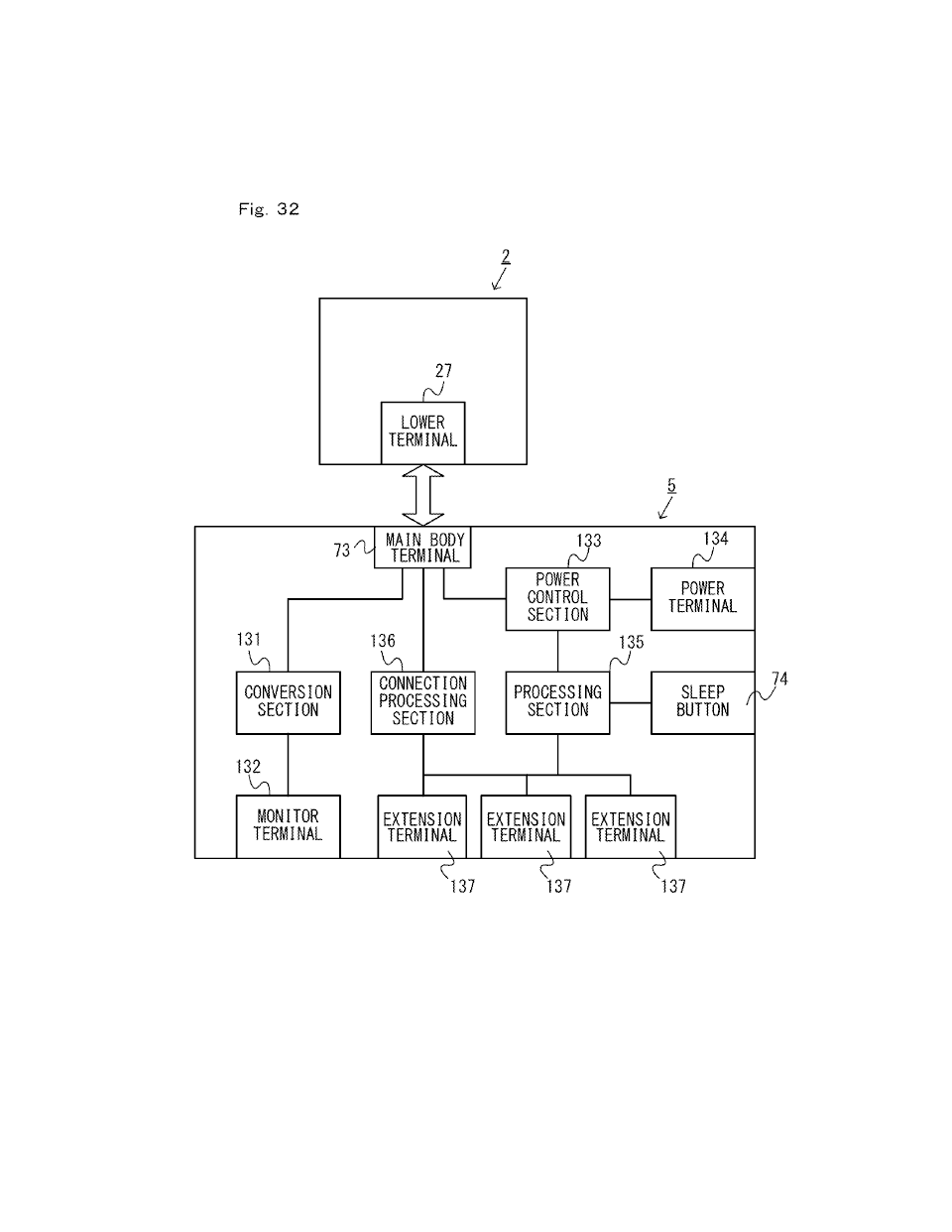
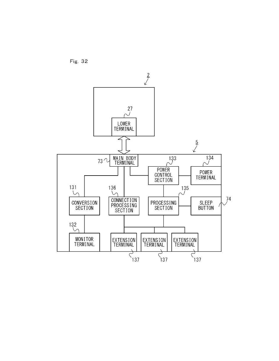
- la “base” a cui si possono collegare i due Joy-Con per ottenere un controller ha una batteria a sé stante che ne estenderebbe la durata
- nella base a cui si connette lo schermo sembra esserci una ventola di raffreddamento, il che confermerebbe il rumor di ulteriori componenti volte a incrementare la performance della console in modalità “home”
- sembra che siano presenti delle prese USB C
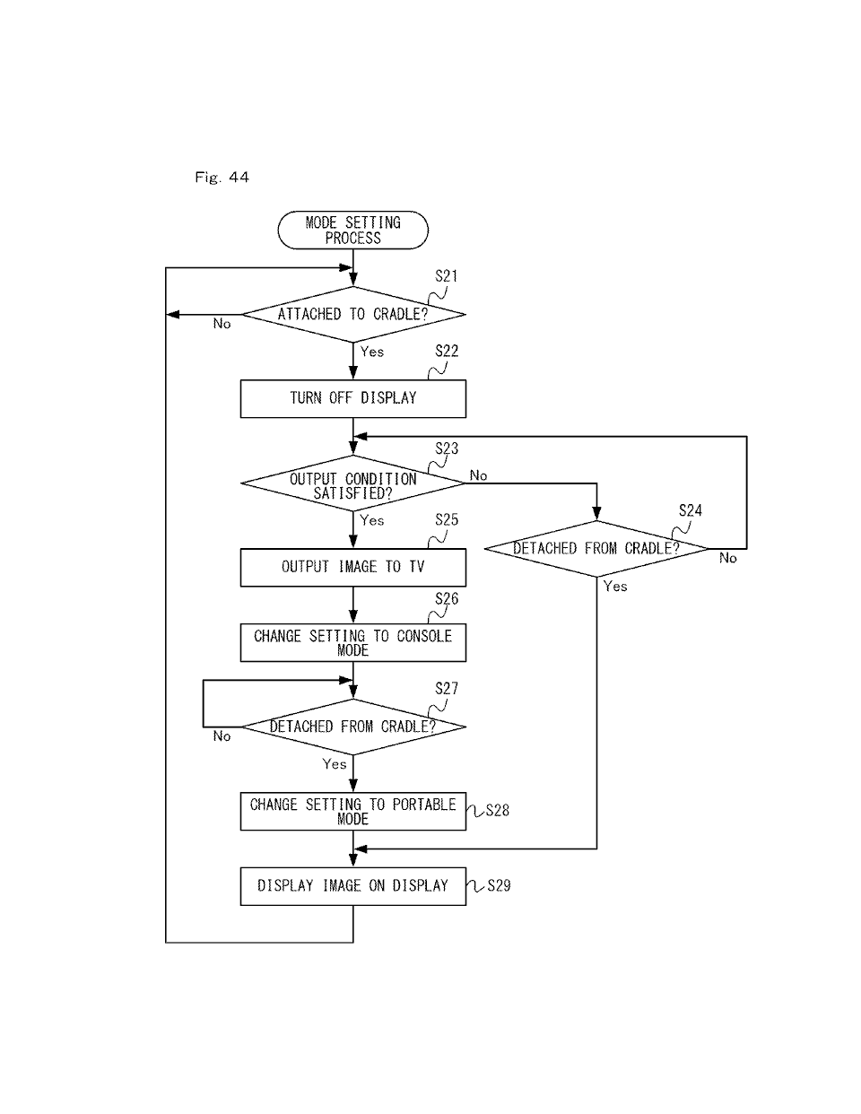
- confermata la minore performance di Nintendo Switch in modalità portatile
- presenza di una modalità standby
- suggerito il supporto a schede






































