Nintendo NX avrà controlli intercambiabili?
Questo è ciò che viene da chiedersi considerando il recente brevetto di Nintendo. Di questo brevetto si parla in rete già da mesi in realtà, e in particolare noi ve ne avevamo parlato qui.
L’esistenza stessa di questo brevetto in realtà non dimostra nulla. Molti brevetti delle aziende sono finiti nel dimenticatoio, e il registrarli potrebbe essere solo una strategia per “portarsi avanti”.
Ad ogni modo, è curioso congetturare e fare previsioni su questo sistema. Idealmente questa possibilità permetterebbe alla big N di presentare una console brillante, almeno dal punto di vista della versatilità dei comandi.
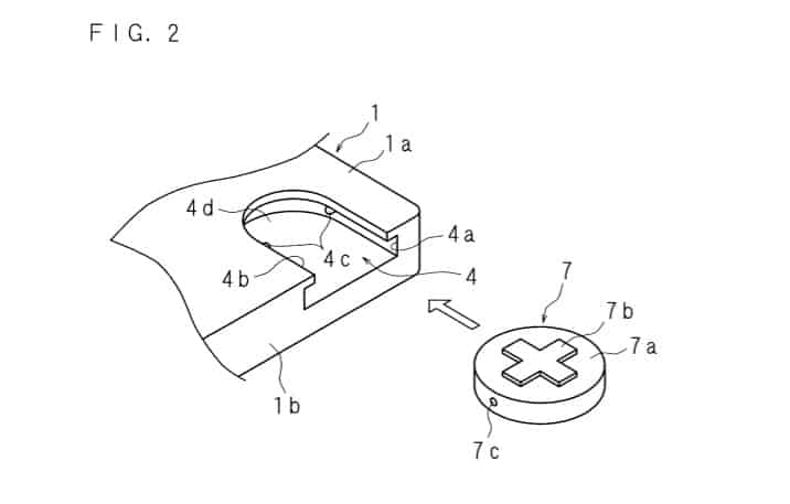
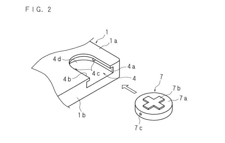
Il brevetto aggiornato mostra in particolare nuove combinazioni di tasti, il che sarebbe molto utile considerando quanto siano varie le tipologia di comandi proposte in passato dalla casa di Kyoto. Pensate solo a cosa significherebbe per la Virtual Console! Tre tasti sono presenti sotto lo schermo, con una disposizione che ricorda da vicino i tasti del New Nintendo 3DS. Nelle seguenti immagini inoltre sono presenti fino a 4 slot, a differenza del passato brevetto.
Non ci è dato sapere se (e dove) i comandi personalizzabili vedranno mai la luce. Vi piacerebbe vederli in azione sulla prossima ammiraglia Nintendo?




